Transportador Sinfín de Canal en U Ø200 × 10 000 mm para Harinas y Cereales
Transportador sinfín de canal en U Ø200 × 10 000 mm con motor 2,2 kW IE3 50:1 y dos salidas bridadas. Acero al carbono con acabado interior alimenticio. Hasta 100 m³/h.
Vista general del producto
SKU: SID0006WES219091500
Transportador tubular cerrado servicio pesado de 8" Ø, 9 m, motor 15 kW. Caudal hasta 80 t/h de cemento. Inclinación hasta 45°. Acabado antiestático 80 µm.
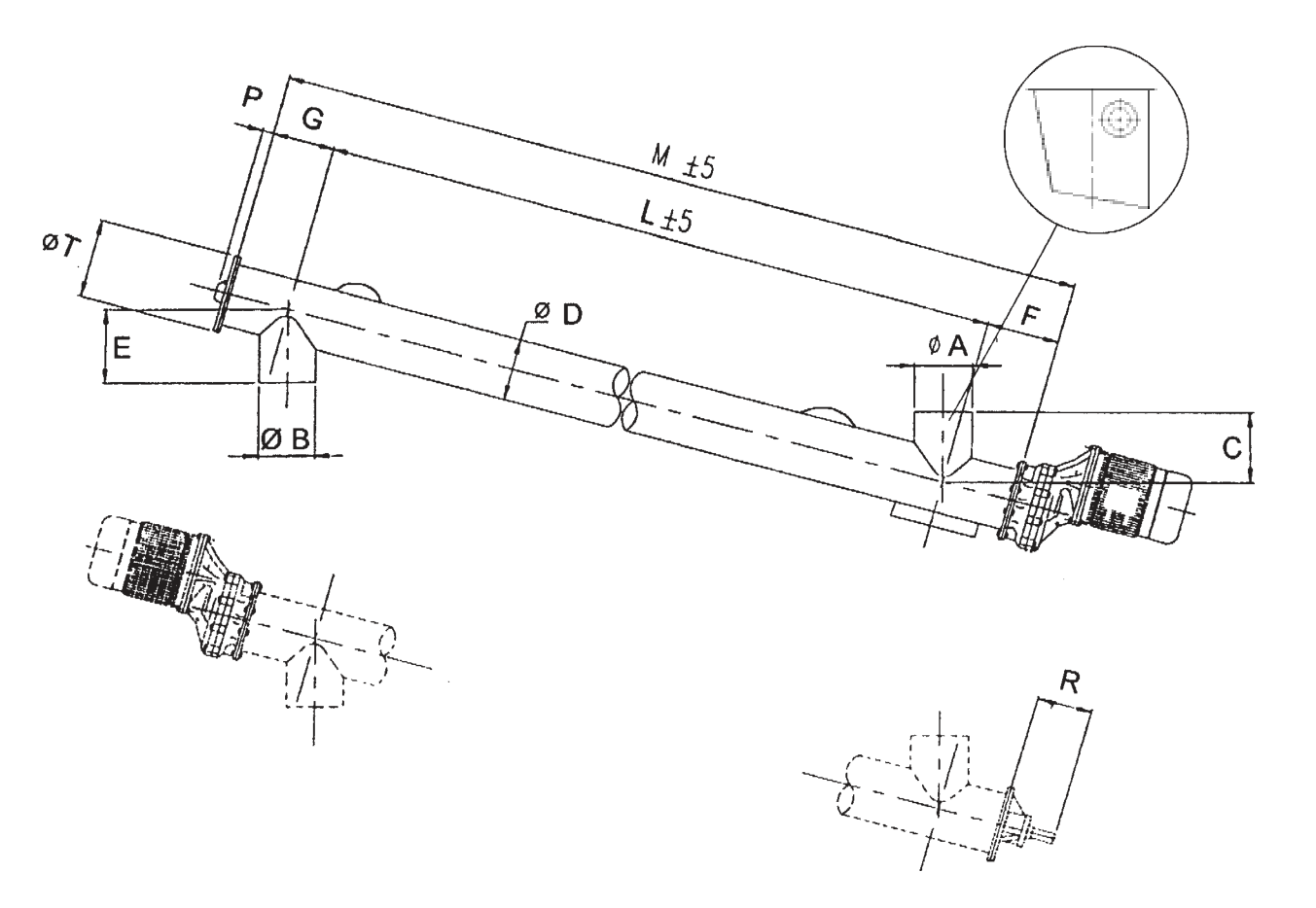
Transportador helicoidal tubular cerrado servicio pesado de 8" de diámetro y 9 metros de longitud, equipado con motor de 15 kW (20 HP) 400/690 V 60 Hz y reductor reforzado de alto par con relación 1:7. Diseñado para descarga de cemento desde silos, plantas dosificadoras y centrales de concreto premezclado, con caudal nominal de hasta 80 t/h sobre cemento de densidad 1 300 kg/m³ trabajando hasta 45° de inclinación.
A diferencia de los transportadores tipo U abiertos, el tubo cerrado tubular cerrado contiene polvos abrasivos como cemento, cal o yeso evitando emisiones a la planta y permitiendo trabajar inclinado sin pérdida de producto. La motorización se monta en boca de entrada (lado alimentación) liberando espacio en el extremo de descarga para conectar directo al equipo dosificador o al silo.
El paso del helicoide estándar combinado con la velocidad nominal del reductor 1:7 da un avance lento del polvo dentro del tubo, lo que reduce la abrasión sobre el helicoide y la pared interna y mantiene la temperatura del cemento estable durante el transporte. Los soportes intermedios estándar y el cojinete estándar en boca de salida absorben la flexión propia de tramos largos sin generar puntos de desgaste localizado.
Características principales
| 1 | Motor eléctrico |
| 2 | Reductor (compacto) |
| 3 | Grupo de juntas del eje del reductor |
| 4 | Boca de carga |
| 5 | Tubo externo |
| 6 | Boca de inspección |
| 7 | Soporte intermedio |
| 8 | Cabezal descarga |
| 9 | Hélice |
| 10 | Anillo de elevación |
| 11 | Número de matrícula |
| 12 | Cabezal carga |
| 13 | Boca de descarga |
| 4a | Tolva volumétrica |
| Acabado | Recubrimiento en polvo antiestático previo a proceso de sandblast con un grosor nominal de 80 µm acabado en color amarillo caterpillar |
| Reductor | reforzado de alto par |
| Diámetro | 8" |
| Tipo de eje | Estándar |
| Inclinación | 45º |
| Boca de salida | Cilíndrica diámetro 8" |
| Caudal nominal | Hasta 80 T / h de cemento (densidad 1,300 kg/m3) |
| Boca de entrada | Boca de entrada universal con brida diámetro 8" |
| Motor eléctrico | 15 Kw (20 Hp) 400/690V 60 hz |
| Paso del helicoide | Estándar |
| Ratio de reducción | 1:7 |
| Compuertas de inspección | Incluidas en boca de entrada y soportes intermedios |
| Tipo de soportes intermedios | estándar |
| Posición de la motorización | En boca de entrada |
| Tipo de cojinetes en boca de salida | estándar |
| F | 180 mm (300-400 mm) |
| G | 160 mm |
| M | 9200 mm |
| P | 40 mm |
| R | 173 mm |
| Ø T | 275 mm |
| Longitud (L) | 9000 mm |
| Diámetro (Ø D) | 219 mm |
Hasta 45°, manteniendo el caudal nominal de 80 t/h sobre cemento de densidad 1 300 kg/m³. Por encima de 45° el cemento empieza a retroceder por gravedad dentro del tubo y se pierde caudal efectivo.
Para liberar la zona de descarga, que normalmente queda sobre la tolva o báscula del equipo dosificador. Facilita el mantenimiento del motor sin necesidad de plataforma elevada y simplifica la conexión eléctrica.
El ES es tubular cerrado: contiene polvo, evita emisiones a la planta y permite trabajar inclinado hasta 45°. El tipo U es canaleta abierta, solo opera horizontal o con muy poca inclinación y no contiene polvos finos.
Cemento, cal hidratada, yeso y materiales en polvo similares de densidad cercana a 1 300 kg/m³. No es apto para granulares grandes, materiales pegajosos ni productos abrasivos con partículas mayores a 5 mm.
De fábrica trae boca universal con brida en la entrada y cilíndrica en la salida, ambas en 8". ofrece bocas cuadradas, rectangulares, cónicas y juntas de goma como variantes según el equipo donde se conecte.
Engrase periódico de los soportes intermedios estándar y del cojinete estándar en el cabezal de descarga. Las compuertas de inspección incluidas en boca de entrada y soportes intermedios permiten revisar el helicoide sin desmontar el tubo.
Transportador sinfín de canal en U Ø200 × 10 000 mm con motor 2,2 kW IE3 50:1 y dos salidas bridadas. Acero al carbono con acabado interior alimenticio. Hasta 100 m³/h.
Transportador tubular en AISI 316 de 10" Ø y 3.65 m, motor 4 kW, inclinación 42°. Certificación ATEX zona 22 para polvos combustibles.
Micro dosificador volumétrico con boca de 4" grado alimenticio
Transportador sinfín de canal en U Ø200 × 5000 mm con motor 1,5 kW IE3 50:1. Acero al carbono con acabado interior alimenticio. Hasta 100 m³/h.